布洛维硬度计使用说明书【借鉴】
以下为布洛维硬度计使用说明书:
目录
一、金属的硬度试验
布氏法硬度试验
维氏法硬度试验
洛氏法硬度试验
二、硬度计的构造
三、硬度计的安装
四、硬度计的使用
对试样的要求
硬度计的操作
试验时的注意事项
五、硬度计的维护
六、附加说明
一、金属的硬度试验
金属的硬度试验,一般可分为动载和静载的试验。动载试验常用的为弹性回跳法和用冲击力把淬火钢球压入试样的试验方法;静载试验法为以一定形状的压头,平稳和逐渐地施加载荷,将压头压入试样,以所得压痕的几何形状或压痕形状与载荷的相互关系来表示金属的硬度。本硬度计是以静载法中最常用的布氏法、维氏法和洛氏法测定金属的硬度。
布氏硬度试验
布氏硬度试验是把一定直径的钢球,在规定的载荷作用下并在一定时间内压入试样或工件,通常采用的钢球直径最小为1.25毫米,最大为10毫米,施加载荷最小为31.25kgf(306.5N)最大为3000kgf(29.42kN)。
本硬度计测定布氏硬度所用的钢球直径和载荷如下表:
表1
钢球 直径 D
(mm) | 载荷Pkgf(N) | ||||
P=30D2 黑色金属 HB=140~450
| P=10D2 有色金属及 其合金 HB=47.5~200 | P=5D2 有色金属铜 铝等 HB=31.8~102 | P=2.5D2 有色金属及其合金、轴承合金 HB=11.9~50.1 | P=1.25D2 有色金属铝及锡等 HB=4~25.1 | |
5 | 62.5(612.9N) | 31.25(306.5N) | |||
2.5 | 187.5 (1.839KN) | 62.5 (612.9N) | 31.25 (306.5N) | ||
布氏硬度值以试样或工件上钢球压痕球面上的平均压力(kgf/mm)表示之,并按下式计算:

式中:D=钢球直径(mm)
P=加于钢球上的载荷kgf(N)
d=压痕直径(mm)
压痕直径的测量可用外购的测量显微镜进行,其准确度应达0.01毫米,硬度值可在附表“布氏硬度对数表”中查对。
以布氏法进行硬度试验时,载荷的施加必须平稳、无冲击及振动,对黑色金属及有色金属中的铜和铜合金,在开始加荷至最大载荷的时间应为2-3秒,在最大载荷下保持时间也应为30秒。对轻合金及塑性大的金属(铝、铝锡及轴承合金等)则载荷施加和保持时间延长至1分钟。
布氏硬度的记录,一般应标示出试验时的条件,例如以φ2.5毫米的钢球,载荷为62.5kgf(612.9N)载荷时间为30秒,测得的布氏硬度值为182,其结果应记录为:
HB2.5/62.5/30=182(kgf/mm2)
括号内的单位(kgf/mm2)可以省略。
试样或工件的厚度,应不小于压痕深度的10倍,布氏法试验时试样的厚度规定如下表:
表2
钢球直径(mm) | 载荷 kgf (N) | 硬度值 | |||||||||||
10 | 20 | 30 | 40 | 60 | 80 | 100 | 150 | 200 | 300 | 400 | 500 | ||
试样的最小厚度(mm) | |||||||||||||
5 | 31.25 (306.5) 62.5 (612.9) | 2.0 | 1.0 | - | - | - | - | - | - | - | - | - | - |
4.0 | 2.0 | 1.3 | 1.0 | - | - | - | - | - | - | - | - | ||
2.5 | 31.25 (306.5) 62.5 (612.9) 187.5 (1839) | - | - | - | 1.0 | 0.65 | 0.5 | 0.4 | - | - | - | - | - |
- | - | - | 2.0 | 1.3 | 1.0 | 0.8 | 0.5 | 0.4 | - | - | - | ||
- | - | - | - | - | - | 2.4 | 1.6 | 1.2 | 0.8 | 0.6 | 0.48 | ||
维氏硬度试验
维氏法硬度试验是用相对面间夹角为136°的正四棱形角锥体金刚石压头压入试样,而用压痕面积(mm2)除载荷(kgf)所得的数字表示硬度值,角锥体的压痕面积是根据其两条对角线长度的平均值来计算。硬度值可用下式表示:(参考图2)
上式中:p=载荷牛顿(kgf)
d=压痕的两对角线长度的平均值(mm)

维氏法测定硬度所用的载荷由1kgf至120kgf(9.81N至1.177kN),本硬度计用的载荷为30kgf(294.2N),60kgf(588.4N),100kgf(980.7N)。
压痕的对角线长度以外购的测量显微镜测量,其准确度应达到0.001毫米。硬度值可在附表“维氏硬度对数表”查对。
负荷施加于试样上,必须缓慢平稳、无冲击及振动,从加荷开始到规定值的时间应为10~12秒,而负荷保持时间约为10~15秒,对于软金属及需要较高精度的试验工作时,应加长保持负荷时间至30+2秒。
维氏硬度的标示,一般应示出试验时的载荷,例如60kgf(588.4N)载荷得出的硬度值为300,其结果应标示为:
HV60=300(kgf/mm2)
括号内的单位(kgf/mm2)可以省略。
试样或工件的厚度,应不少于压痕对角线的1.5倍,也可以用不少于压痕深度的10倍来计算,其规定如下表示:
维氏硬度试验样的最小厚度
表3
载荷 P kgf (N) | 硬度值HV | |||||
200 | 300 | 400 | 600 | 800 | 1000 | |
试样最小厚度(mm) | ||||||
30(294.2) | 0.75 | 0.62 | 0.53 | 0.44 | 0.38 | 0.34 |
60(588.4) | 1.1 | 0.78 | 0.75 | 0.62 | 0.53 | 0.48 |
100(980.7) | 1.4 | 1.2 | 1.0 | 0.8 | 0.69 | 0.62 |
(三)洛氏法硬度试验
洛氏法试验是用两种不同的压头在先后施加的两个载荷(预载荷和总载荷)作用下压入金属来测定硬度。
根据试验条件,可采用直径为12.7mm,6.35mm,3.175mm,1.588mm的淬火钢球压头或顶角为120°的金刚石圆锥压头(顶端圆弧半径为0.2毫米)。本硬度计只附直径为1.588mm的钢球压头及金刚石圆锥压头两种。
洛氏硬度值HR是测量压头lOkgf(98.1N)预加载荷与总载荷(预载荷加主载荷)作用下所得压痕深度差来表示,因此压痕的深度是在保留lOkgf(98.1N)的载荷下测量,总载荷是根据所用压头及试样材料而规定选用150kgf(1471.1N),1OOkgf(980.7N)或60kgf(588.4N),所得硬度值分别以不同的标记表示。
洛氏硬度以具有条件性的不名数表示,以压痕深度0.002毫米作为1硬度单位。当用金刚石圆锥压头时,硬度值投影在本硬度计的红色线影屏上,读数由100至O,表示试样的压痕深度由0至200微米;当用淬火钢球压头时,硬度值投影在蓝色线的投影屏上读数由100至0,表示试样的压痕深度为60至260微米。
洛氏硬度标记,所用压头和总负荷如下表示:
表4
投影屏 | 标记 | 压头 | 总载荷:kgf(N) |
红色 | HRC | 金刚石圆锥压头 | 150(1471.1) |
HRA | 金刚石圆锥压头 | 60(588.4) | |
HRD | 金刚石圆锥压头 | 100(980.7) | |
蓝色 | HRB | φ1.588毫米钢球 | 100(980.7) |
HRF | φ1.588毫米钢球 | 60(588.4) | |
HRG | φ1.588毫米钢球 | 150(1471.1) |
洛氏硬度值可按下式计算:(参见图4)
用金刚石圆锥压头时HRC、HRA、HRD=100-0.002
用直径为1.588mm钢球压头时HRB、HRF、HRG=130-0.002
式中:h--在预载荷10kgf(98.1N)作用下,压头压入深度(毫米)。
H--在总载荷作用后,卸除主载荷,只在预载荷作用下的恢复压痕深度(毫米)。
载荷施加于试样时必须平稳、无冲击及振动,特别在施加10kgf(98.1N)预载荷时更应注意,加荷速度以压入时间表示,对A、B、C标尺均为4~6秒(C标尺用HRC40~50的硬度块),总负荷的保持时间为10秒,主负荷在2~3秒内卸荷后,立即读数。
用金刚石圆锥压头在150kgf(1471.1N)载荷下测量HRC值,一般用来测量淬火钢球或低温加回火钢的硬度,也可以用来测量厚度超过0.5毫米的箔面层(如渗炭层)的硬度,但硬度值HRC>70的试样,应用圆锥压头60kgf(588.4N)载荷下测量HRA值,以免压头被损坏。
用钢球加以100kgf(980.7N)或150kgf(1471.1N)载荷,直接用来测量较软的材料,如退火钢、有色金属等硬度,但硬度值HRB<60的材料不适宜进行洛氏硬度试验。
试样的厚度应不少于压痕深度的10倍,其规定如下:
表5
压头 种类 | 载荷 kgf(N) | 标 记 | HRC值 | |||||||
20 | 30 | 40 | 50 | 60 | 70 | |||||
试样最小厚度(mm) | ||||||||||
120°圆 锥压头 | 60(588.4) 100(980.7) 150(1471.1) | A D C | 1.0 | 0.9 | 0.8 | 0.7 | 0.6 | 0.5 | ||
1.4 | 1.3 | 1.1 | 1.0 | 0.8 | 0.7 | |||||
1.8 | 1.6 | 1.4 | 1.2 | 1.0 | 0.8 | |||||
φ1.588mm 钢球压头 | 60(588.4) 100(980.7) 150(1471.1) | F B G | HRC值 | |||||||
20 | 30 | 40 | 50 | 60 | 70 | 80 | 90 | |||
试样最小厚度(mm) | ||||||||||
1.5 | 1.4 | 1.25 | 1.1 | 1.0 | ||||||
2.5 | 2.3 | 2.0 | 1.8 | 1.6 | 1.4 | 1.2 | 1.0 | |||
2.8 | 2.5 | 2.2 | 1.9 | 1.5 | ||||||
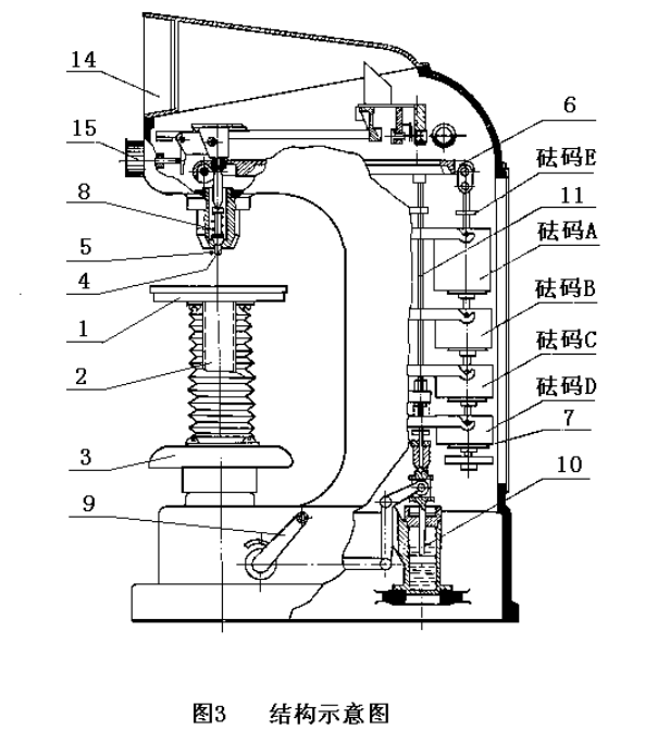
硬度计的构造(参看图3)
HDl-1875型硬度计除操纵手柄9外,全部封闭安装在机架内。机架前面装有支承试样的支承台1、升降螺杆2及升降手轮3,支承台可按试样形状要求而更换。试验用的压头装在加荷杆4的孔内,用固定螺钉5固定。进行洛氏硬度试验时,预载荷10kgf(98.10N)由加荷弹簧8产生。主载荷则由安放于砝码台7上的砝码重量借加荷杠杆而施加于压头。主载荷的加卸,由一组连杆装置操纵之。当将操纵手柄9摇向前时,缓冲器10的活塞被提升,通过推杆11而使加荷杠杆6升起,此时砝码产生的载荷没有施加于压头上。将操纵手柄9推向后方,则载荷通过缓冲器的作用,缓缓施加于压头上。载荷的交换由一自动更换装置操纵,在机架右侧有一载荷交换旋钮,转动此旋钮,使标记对正所选用的载荷,便可使砝码挂架上的砝码自动装上砝码台。本硬度计可以在187.5、150、100、62.5、60、31.25、30kgf即(1839、1471.1、980.7、612.9、588.4、306.5、294.2N)7挡载荷进行试验。但在选用294.2N(30kgf)载荷时,必须将交换旋钮的标记对正31.25的位置,同时将砝码台上附加的小砝码E取出,其它各挡载荷则须将此小砝码加在砝码台上。
该类型硬度计附有专供洛氏硬度试验的读数装置,此装置将试样的压痕深度通过一放大杠杆,而用光学放大系统投射于机架前端的投影屏14上,在投影屏可直接读出试样的洛氏硬度值。所用的光源由6-8V、15W的灯泡产生,附有变压器,使用的电源为220V、AC。
进行布氏硬度试验或维氏硬度试验时,试样上被压出的压痕可用测量显微镜测量,并借用硬度对数表查对硬度值。
三、硬度计的安装
硬度计必须安装在室温20±10℃的范围内,周围无振动无腐蚀性介质。

为了避免硬度计在运输途中碰坏,故将所有砝码、砝码台均卸下另行包装,加荷杠杆及放大杠杆用小绳缚紧,因此,开箱后必须按下列方法进行安装。
1.硬度计必须放在紧固的、表面稍粗糙的台面上,并在台面适当位置开一直径为60毫米的孔,使硬度计升降螺杆在此孔升降,以便使用、维修。
2.用螺旋起子旋开顶罩及掀开背面的盖板,将缚紧杠杆的小绳剪断并取出垫衬物。
3.在杠杆末端的挂板上挂上砝码台,并将砝码按A、B、C、D顺序由上而下安放在砝码架上,小砝码E放在砝码台的挂钩下(用30kgf即294.2N载荷时将砝码E取出)。
4.将机体安放好,把顶罩及后盖板装上,并以支承台为准,校正水平(水平度不超过0.2/1000)。
5.接上电源(220V)按下机架侧下方的开关,光线投射在投影屏上应均匀,如发现有明暗不均匀现象,可旋开机架左上侧的光源防护罩,调节灯座螺帽,将灯座拉出,推入或旋转,使光源对正光学透镜的光轴。注:更换灯泡时将灯座整个拉出。
四、硬度计的使用
(一)对试样的要求
1.试样表面必须经过精加工(倒角),不应有凹凸不平的加工缺陷或夹杂物,以免损坏压头,同时最后加工不应影响金属的硬度(例如:由冷加工而产生的硬化或由于在加工过程中引起发热而产生的回火)。
2.试样表面应干燥清洁无油层,对于有油漆、电镀层、氧化皮、脱炭层或渗炭层的试样,结果主要目的不是试验该层的硬度,则应加以清除。
3.试样几何形状的要求:
(1)布氏硬度试验,试样表面应制成光滑平面,以便压痕边缘足够清晰,保证测量压痕直径的准确性。
(2)维氏硬度试验,试样被试面应为平面,粗糙度0.4以上,必要时亦可以测定其曲率半径不少于5毫米的试样,但其结果只能与相同曲率表面条件下的结果相比较。
(3)洛氏硬度试验,可在其有平坦或弯曲表面的试样上进行,测定弯曲面之硬度时,其曲率半径不得少于15毫米。如半径为5~15毫米,则测得的硬度值仅能用于比较相同曲率表面的硬度,但根据修正值修正后,其硬度值仍可同曲率半径大于15毫米者进行比较。
4.试面应垂直于压头轴线,其倾斜度不应大于2º。
5.试样的支承面应能保证试样与支承台紧密接合,在试验时不能移动,试样本身更不应产生弯曲和弹性变形。
6.根据试验方法和试样厚度,按上述表1、2、3恰当地选择试验载荷。
(二)硬度计的操作(参看图3及图4)
1.根据试样形状的要求选用适当的支承台,支承台必须试抹干净,能使与升降螺杆的顶端紧密接合。
2.根据试验要求选用压头,并将压头牢靠地安装在加荷杆的孔中,使压头与主轴的平面在工作时保持接触良好,以保证试验结果的正确。
3.根据试验需要选择所需的试验载荷,转动机架右侧的变换载荷旋钮,使所需载荷数字对正标记,可调换的载荷为
即(
。如果需用30kgf(294.2N)载荷,按上述结构说明中的方法,将小砝码E取出。
4.将操纵手柄9摇向前方,然后将试样放在支承台1上,转动升降手轮3,使试样试面与压头按触,继续缓慢转动手轮,使试样继续升高,此时投影屏上的标尺移动到红色刻度“100”与基准线接近重合(上、下偏移不大于5小格)。
5.旋转投影屏下的调整旋钮15,使基准线与刻度“100”重合,此时预载荷10kgf(98.1N)施加在试样上(图4之Ⅱ)。
6.将操纵手柄9推向后方,则主载荷施加在试样上,投影屏上的标尺慢慢回行,而且停止在一定位置,此时标尺所指示的压痕深度,是在总载荷作用下,试样的弹性变形也计在内,因此不能以此作为载荷的读数(图4之Ⅲ)。
7.将操纵手柄9摇向前方,使主载荷卸除,此时试样只承受lOkgf(98.1N)的预载荷,压痕的弹性已回复,此时投影屏上基准线对正标尺的数字,即为洛氏硬度值。如果用金刚石圆锥压头,施加60、150、100kgf(即588.4、1471.1、980.7N)载荷,则在红色投影屏上读出HRA、HRC或HRD值;如果用直径为1.588mm的钢球压头用100,60、150kgf(即980.7、588.4、1471.1N)载荷则在蓝色投影屏分别读出HRB、HRG或HRF值(图4之Ⅳ)。
8.降下支承台,取出试样(图4Ⅴ)。
9.用作测量布氏或维氏硬度时,操作方法同上,但取下试样后必须用测量显微镜测量压痕的直径(布氏法)或对角线的长度(维氏法),再在硬度对数表中查对硬度值。
10.无论用作测量布氏、维氏或洛氏硬度,必须按照上述金属硬度试验中的规定选用压头或规定的载荷进行试验,并按规定控制载荷的施加时间,将操纵手柄9摇向前方后,投影屏上的标尺缓慢回行直至停止,所需时间即载荷施加时间,此时间的控制可调整机架右下侧的缓冲器旋钮10,使之符合规定的要求。
11.当转换支承台时,须将螺杆降低,并注意不要碰坏压头。
(三)试验时的注意事项
1.布氏硬度试验
(1)压痕中心距试样边缘的距离不小于压痕直径的2.5倍,而距其相互压痕中心的距离应不小于压痕直径的4倍。试验硬度小于HB35的金属时,上述距离应分别为压痕直径的3倍和6倍。
(2)试样或弯曲表面制件试验表面的长度和宽度应不小于钢球直径的2倍。
(3)试验后压痕直径的大小应在下列范围内:
O.25<d<0.6D
如不符合上述条件时,试验结果认为无效。
2.维氏硬度试验
(1)一压痕中心与试样边缘或其他压痕中心之间的距离对于黑色金属不应小于压痕平均对角线长的2.5倍,对于有色金属,则不应小于5倍。
(2)试验后试样上出现下列情况之一者,试验结果无效。
a.试样背面有变形痕迹;
b.压痕形状不完整;
3.洛氏硬度试验
(1)在试样上两相邻压痕中心以及任一压痕中心距试样边缘之距离均不得小于3毫米。
(2)每次更换压头(金刚石圆锥和钢球)、试样或支座后的最初两次试验结果,不能采用。
五、硬度计的维护
1.硬度计必须安装在附近无振动、无腐蚀气体及干燥的地方。
2.使用硬度计时必须按规定的测量硬度允许使用范围进行,以免压头因使用不当而损坏。若不能确定被测试样的硬度范围时,应先采用较轻的载荷进行试验。
3.使用完毕,应将操纵手柄9摇向前方,压头使用完毕,应用丝布试抹干净,钢球压头应涂上少许无酸钟油,以防腐蚀。
4.如发现缓冲器调节失灵,可能是缓冲器的油量过少,可卸下后盖板,掀开缓冲器上的油毡,加注缓冲油(可选用10#~15#车用机油)并多次摇动手柄9,使缓冲器内的气体排出。
5.在硬度计的自动加卸砝码系统、缓冲器连杆系统及支承台升降系统的各摩擦部份加注少量润滑油。注意:其它部份不能注入润滑油。
6.硬度计应经常保持清洁,使用完毕应用木箱或塑料罩封盖,以免尘埃侵入机内。
7.硬度计机身的表面漆膜禁忌与钟油接触。
8.硬度计如有损坏,应由专业人员维修或直接通知生产厂家进行修理。
这里是一段可以自定义编辑的内容