联轴器型号规格参数表【免费下载】
联轴器又称联轴节。用来将不同机构中的主动轴和从动轴牢固地联接起来一同旋转,并传递运动和扭矩的机械部件。有时也用以联接轴与其他零件(如齿轮、带轮等)。
联轴器可分为刚性联轴器和挠性联轴器两大类。
刚性联轴器不具有缓冲性和补偿两轴线相对位移的能力,要求两轴严格对中,但此类联轴器结构简单,制造成本较低,装拆.、维护方便,能保证两轴有较高的对中性,传递转矩较大,应用广泛。常用的有凸缘联轴器、套筒联轴器和夹壳联轴器等。
挠性联轴器又可分为无弹性元件挠性联轴器和有弹性元件挠性联轴器,前一类只具有补偿两轴线相对位移的能力,但不能缓冲减振,常见的有滑块联轴器、齿式联轴器、万向联轴器和链条联轴器等;后一类因含有弹性元件,除具有补偿两轴线相对位移的能力外,还具有缓冲和减振作用,但传递的转矩因受到弹性元件强度的限制,一般不及无弹性元件挠性联轴器,常见的有弹性套柱销联轴器、弹性柱销联轴器、梅花形联轴器、轮胎式联轴器、蛇形弹簧联轴器和簧片联轴器等。
下面介绍几种联轴器的具体参数:
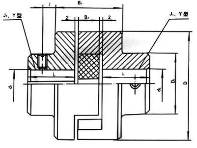
1、凸缘联轴器:传递转矩大,不吸收震动,容易产生附加载核,通常用于工作平稳的
一般传动,要求安装精度非常高。

型号 | 公称转矩/(N·m) | 许用转速/(r/min) | 轴孔直径d₂、d₂/mm | 轴孔长度 | D/mm | D₁/mm | b/mm | b₁/mm | s/mm | 转动惯量/(kg·m²) | 质量/kg | |
Y型 | J₁型 | |||||||||||
GY1 GYS1 GYH1 |
25 |
12000 | 12,14 | 32 | 27 |
80 |
30 |
26 |
42 |
6 |
0.0008 |
1.16 |
16,18,19 | 42 | 30 | ||||||||||
GY2 GYS2 GYH2 |
63 | 10000 | 16,18,19 | 42 | 30 | 90 | 40 | 28 | 44 | 6 | 0.0015 | 1.72 |
20,22,24 | 52 | 38 | ||||||||||
25 | 62 | 44 | ||||||||||
GY3 GYS3 GYH3 |
112 |
9500 | 20,22,24 | 52 | 38 |
100 |
45 |
30 |
46 |
6
|
0.0025 |
2.38 |
25,28 | 62 | 44 | ||||||||||
GY4 GYS4 GYH4 |
224 |
9000 | 25,28 | 62 | 44 |
105 |
55 |
32 |
48 |
6 |
0.003 |
3.15 |
30,32,35 | 82 | 60 | ||||||||||
GY5 GYS5 GYH5 |
400 |
8000 | 30,32,35,38 | 82 | 60 |
120 |
68 |
36 |
52 |
8 |
0.007 |
5.43 |
40,42 | 112 | 84 | ||||||||||
GY6 GYS6 GYH6 |
900 |
6800 | 38 | 82 | 60 |
140 |
80 |
40 |
56 |
8 |
0.015 |
7.59 |
40,42,45,48,50 | 112 | 84 | ||||||||||
GY7 GYS7 GYH7 |
1600 |
6000 | 48,50,55,56 | 112 | 84 |
160 |
100 |
40 |
56 |
8 |
0.031 |
13.1 |
60,63 | 142 | 107 | ||||||||||
GY8 GYS8 GYH8 |
3150 |
4800 | 60,63,65,70,71,75 | 142 | 107 | 200 | 130 | 50 | 68 | 10 | 0.103 | 27.5 |
80 | 172 | 132 | ||||||||||
GY9 GYS9 GYH9 |
6300 |
3600 | 75 | 142 | 107 | 260 | 160 | 66 | 84 | 10 | 0.319 | 47.8 |
80,85,90,95 | 172 | 132 | ||||||||||
100 | 212 | 167 | ||||||||||
2、齿式联轴器:是可移式刚性联轴器用途最广的一种,结构紧凑,承载能力大,使用的
速度范围广,可以补偿两轴相对位移,适用于重载或高速运转的水平传动轴的联
型号 | 公称转矩/(N·m) | 许用转速/(r/min) | 轴孔直径d₂、d₂、dz | 轴孔长度L | D | D1 | D2 | B | A | C | C1 | C2 | e | 转动惯量/(kg·m²) | 质量/kg | |
Y | J1、Z1 | |||||||||||||||
/mm | ||||||||||||||||
CLCL1 | 800 | 7100 | 16,18,19 | 42 | - | 125 | 95 | 60 | 115 | 75 | 20 | - | - | 30 | 0.009 | 5.9 |
20,22,24 | 52 | 38 | 10 | - | 24 | |||||||||||
25,28 | 62 | 44 | 2.5 | - | 19 | |||||||||||
30,32,35,38 | 82 | 60 | 15 | 22 | ||||||||||||
CLCL2 | 1400 | 6300 | 25,28 | 62 | 44 | 145 | 120 | 75 | 135 | 88 | 10.5 | - | 29 | 30 | 0.02 | 9.7 |
30,32,35,38 | 82 | 60 | 2.5 | 12.5 | 30 | |||||||||||
40,42,45,48 | 112 | 84 | 13.5 | 28 | ||||||||||||
CLCL3 | 2800 | 5900 | 30,32,35,38 | 82 | 60 | 170 | 140 | 95 | 155 | 106 | 3 | 24.5 | 25 | 30 | 0.047 | 17.2 |
40,42,45,48,50,55,56 | 112 | 84 | 17 | 28 | ||||||||||||
60 | 142 | 107 | 35 | |||||||||||||
CLCL4 | 5000 | 5400 | 32,35,38 | 82 | 60 | 195 | 165 | 115 | 178 | 125 | 14 | 37 | 32 | 30 | 0.091 | 24.9 |
40,42,45,48,50,55,56 | 112 | 84 | 3 | 17 | 28 | |||||||||||
60,63,65,70 | 142 | 107 | 35 | |||||||||||||
CLCL5 | 8000 | 5000 | 40,42,45,48,50,55,56 | 112 | 84 | 225 | 183 | 130 | 198 | 142 | 3 | 25 | 28 | 30 | 0.167 | 38 |
60,63,65,70,71,75 | 142 | 107 | 20 | 35 | ||||||||||||
80 | 172 | 132 | 22 | 43 | ||||||||||||
CLCL6 | 11200 | 4800 | 48,50,55,56 | 112 | 84 | 240 | 200 | 145 | 218 | 160 | 6 | 35 | 35 | 30 | 0.267 | 48.2 |
60,63,65,70,71,75 | 142 | 107 | 4 | 20 | 35 | |||||||||||
80,85,90 | 172 | 132 | 22 | 43 | ||||||||||||
CLCL7 | 15000 | 4500 | 60,63,65,70,71,75 | 142 | 107 | 260 | 230 | 160 | 244 | 180 | 4 | 35 | 35 | 30 | 0.453 | 68.9 |
80,85,90,95 | 172 | 132 | 22 | 43 | ||||||||||||
100 | 212 | 167 | 48 | |||||||||||||
CLCL8 | 21200 | 4000 | 65,70,71,75 | 142 | 107 | 280 | 245 | 175 | 264 | 193 | 5 | 35 | 35 | 30 | 0.646 | 83.3 |
80,85,90,95 | 172 | 132 | 22 | 43 | ||||||||||||
100,110 | 212 | 167 | 48 | |||||||||||||
注:1.J1型轴孔根据需要也可以不使用轴端挡圈
2.本联轴器具有良好的补偿两轴综合位移的能力,外形尺寸小、承载能力高,能在高转速下可靠的工作。适用于重型机械及长轴连接,但不宜用于立轴的连接。
3、滚子链联轴器
具有结构简单(四个件组成)、装拆方便、拆卸时不用移动被联接的两轴、尺寸紧凑、质量轻、有一定补偿能力、安装精度要求不高、工作可靠、寿命较长、成本较低等优点,滚子链联轴器应在良好的润滑并有防护罩的条件下工作。

滚子链联轴器基本参数和主要尺寸(GB/T6069-85)
型号 | 公称转矩 Tn /N·m | 许用转速[n] /r·min-1 | 轴孔直径 d1、d2 | 轴孔长度 | 链号 | 链条节距 | 齿数 Z | D | bf1 | s | A | Dk max | Lk max | 质量m/kg | 转动惯量I /kg·m2 | 许用补偿量 | ||||
不装罩壳 | 安装罩壳 | Y型 | J1型 | 径向 Δy | 轴向 Δx | 角向 Δα /(°) | ||||||||||||||
L | L1 | |||||||||||||||||||
GL1 | 40 | 1400 | 4500 | 16、18、19 | 42 | - | 06B | 9.525 | 14 | 51.06 | 5.3 | 4.9 | - | 70 | 70 | 0.40 | 0.0001 | 0.19 | 1.414 |
1 |
20 | 52 | 38 | 4 | |||||||||||||||||
GL2 | 63 | 1250 | 4500 | 19 | 42 | - | 06B | 9.525 | 16 | 57.08 | 5.3 | 4.9 | - | 75 | 75 | 0.7 | 0.0002 | |||
20、22、24 | 52 | 38 | 4 | |||||||||||||||||
GL3 | 100 | 1000 | 4000 | 20、22、24 | 52 | 38 | 08B | 12.7 | 14 | 68.88 | 7.2 | 6.7 | 12 | 85 | 80 | 1.1 | 0.00038 | 0.25 | 1.9 | |
25 | 62 | 44 | 6 | |||||||||||||||||
GL4 | 160 | 1000 | 4000 | 24 | 52 | - | 08B | 12.7 | 16 | 76.91 | 7.2 | 6.7 | - | 95 | 88 | 1.8 | 0.00086 | |||
25、28 | 62 | 44 | 6 | |||||||||||||||||
30、32 | 82 | 60 | - | |||||||||||||||||
GL5 | 250 | 800 | 3150 | 28 | 62 | - | 10A | 15.875 | 16 | 94.46 | 8.9 | 9.2 | - | 112 | 100 | 3.2 | 0.0025 | 0.32 | 2.3 | |
30、32、35、38 | 82 | 64 | ||||||||||||||||||
40 | 112 | 84 | ||||||||||||||||||
GL6 | 400 | 630 | 2500 | 32、35、38 | 82 | 60 | 10A | 15.875 | 20 | 116.57 | 8.9 | 9.2 | - | 140 | 105 | 5.0 | 0.0058 | |||
40、42、45、48、50 | 112 | 84 | ||||||||||||||||||
GL7 | 630 | 630 | 2500 | 40、42、45、48、50、55 | 112 | 84 | 12A | 19.05 | 18 | 127.78 | 11.9 | 10.9 | - | 150 | 122 | 7.4 | 0.012 | 0.38 | 2.8 | |
60 | 142 | 107 | ||||||||||||||||||
GL8 | 1000 | 500 | 2240 | 45、48、50、55 | 112 | 84 | 16A | 25.4 | 16 | 154.33 | 15 | 14.3 | 12 | 180 | 135 | 11.1 | 0.025 | 0.5 | 3.8 | |
60、65、70 | 142 | 107 | ||||||||||||||||||
GL9 | 1600 | 400 | 2000 | 50、55 | 112 | 84 | 16A | 25.4 | 20 | 186.5 | 15 | 14.3 | 12 | 215 | 145 | 20 | 0.061 | |||
60、65、70、75 | 142 | 107 | - | |||||||||||||||||
80 | 172 | 132 | ||||||||||||||||||
GL10 | 2500 | 315 | 1600 | 60、65、70、75 | 142 | 107 | 20A | 31.75 | 18 | 213.02 | 18 | 17.8 | 6 | 245 | 165 | 26.1 | 0.079 | 0.63 | 4.7 | |
80、85、90 | 172 | 132 | - | |||||||||||||||||
GL11 | 4000 | 250 | 1500 | 75 | 142 | 167 | 24 A | 38.1 | 16 | 213.49 | 24 | 21.5 | 35 | 270 | 195 | 39.2 | 0.188 | 0.76 | 5.7 | |
80、85、90、95 | 172 | 132 | 10 | |||||||||||||||||
100 | 212 | 167 | - | |||||||||||||||||
GL12 | 6300 | 250 | 1250 | 85、90、95 | 172 | 167 | 28A | 44.45 | 16 | 270.08 | 24 | 24.9 | 20 | 310 | 205 | 59.4 | 0.38 | 0.88 | 6.6 | |
100、110、120 | 212 | 202 | - | |||||||||||||||||
GL13 | 10000 | 200 | 1120 | 100、110、120、125 | 212 | 167 | 32 A | 50.8 | 18 | 340.8 | 30 | 28.6 | 14 | 380 | 230 | 86.5 | 0.869 | 1 | 7.6 | |
130、140 | 252 | 202 | - | |||||||||||||||||
GL14 | 16000 | 200 | 1000 | 120、125 | 212 | 167 | 32 A | 50.8 | 22 | 405.22 | 30 | 28.6 | 14 | 450 | 250 | 150.8 | 2.06 | |||
130、140、150 | 252 | 202 | - | |||||||||||||||||
160 | 302 | 242 | ||||||||||||||||||
GL15 | 25000 | 200 | 900 | 140、150 | 252 | 202 | 40 A | 63.5 | 20 | 466.25 | 36 | 35.6 | 18 | 510 | 285 | 234.44 | 4.37 | 1.27 | 9.5 | |
160、170、180 | 302 | 242 | - | |||||||||||||||||
190 | 352 | 282 | ||||||||||||||||||
注:1.有罩壳时,在型号后加“F”,例GL5型联轴器,有罩壳时改为GL5F。
2.表中联轴器质量、转动惯量是近似值。
3.本联轴器可补偿两轴相对径向位移和角位移,结构简单重量较轻,装拆维护方便,可用于高温、潮湿和多尘环境。但不利于立轴的连接。
4、弹性套柱销联轴器
弹性套柱销联轴器利用一端套有弹性套(橡胶材料)的柱销,装在两半联轴器凸缘缘孔以实现两半联轴器的联接。
LT型弹性套柱销联轴器基本参数和主要尺寸
| 公称转矩 | 许用转速 | 轴孔直径 d1、d2 | 轴孔长度mm | D | A | 转动惯量 | 质量 | |||
Y型 | J、J1、Z型 | L推荐 | |||||||||
L | L1 | L | mm | ||||||||
LT1 | 6.3 | 8800 | 9 | 20 | 14 | - | 25 | 71 | 18 | 0.005 | 0.82 |
10、11 | 25 | 17 | |||||||||
12、14 | 32 | 20 | |||||||||
LT2 | 16 | 7600 | 12、14 | 35 | 80 | 0.0008 | 1.21 | ||||
16、18、19 | 42 | 30 | 42 | ||||||||
LT3 | 31.5 | 6300 | 16、18、19 | 38 | 95 | 35 | 0.0023 | 2.2 | |||
20、22 | 52 | 38 | 52 | ||||||||
LT4 | 63 | 5700 | 20、22、24 | 40 | 106 | 0.0037 | 2.84 | ||||
25、28 | 62 | 44 | 62 | ||||||||
LT5 | 125 | 4600 | 25、28 |
|
|
| 50 | 130 | 45 | 0.012 | 6.05 |
30、32、35 | 82 | 60 | 82 | ||||||||
LT6 | 250 | 3800 | 32、35、38 | 55 | 160 | 0.028 | 9.57 | ||||
40、42 | 112 | 84 | 112 | ||||||||
LT7 | 500 | 3600 | 40、42、45、48 | 112 | 84 | 112 | 65 | 190 | 45 | 0.055 | 14.01 |
LT8 | 710 | 3000 | 45、48、50、55、56 | 70 | 224 | 65 | 0.134 | 23.12 | |||
60、63 | 142 | 107 | 142 | ||||||||
LT9 | 1000 | 2850 | 50、55、56 | 112 | 84 | 112 | 80 | 250 | 0.213 | 30.69 | |
60、63、65、70、71 | 142 | 107 | 142 | ||||||||
LT10 | 2000 | 2300 | 63、65、70、71、75 | 100 | 315 | 80 | 0.66 | 61.4 | |||
80、85、90、95 | 172 | 132 | 172 | ||||||||
LT11 | 4000 | 1800 | 80、85、90、95 | 115 | 400 | 100 | 2.122 | 120.7 | |||
100、110 | 212 | 167 | 212 | ||||||||
LT12 | 8000 | 1450 | 100、110、120、125 | 135 | 475 | 130 | 5.39 | 210.34 | |||
130 | 252 | 202 | 252 | ||||||||
LT13 | 16000 | 1150 | 120、125 | 212 | 167 | 212 | 160 | 600 | 180 | 17.58 | 419.4 |
130、140、150 | 252 | 202 | 252 | ||||||||
160、170 | 302 | 242 | 302 | ||||||||
注:1.质量、转动惯量按材料为铸钢
2.本联轴器具有一定补偿两轴线相对偏移和减震缓冲能力,适用于安装底座刚性好,冲击载荷不大的中小功率轴系传动,可用于经常反转、启动频繁的场合,工作温度为-20~+70℃
5、弹性柱销联轴器
弹性柱销联轴器是利用若干非金属弹性材料制成的柱销,置于两半联轴器凸缘孔中,通过柱销实现两半联轴器联接,该联轴器结构简单,容易制造,装拆更换弹性元件比较方便,不用移动两联轴器。

LX型弹性柱销联轴器基本参数和主要尺寸
型号 | 公称转矩/(N▪mm)
| 许用转速/(r▪min) | 轴孔直径 d1、d2、dz/mm | 轴孔长度 |
D/mm |
D1/mm |
S/mm |
b/mm | 转动惯量/(kg▪m2)
|
质量/kg | ||
Y型 | J、J1、Z型 | |||||||||||
L | L1 | L | ||||||||||
LX1 |
250 |
8500 | 12、14 | 32 | 27 |
|
90 |
40 |
2.5 |
20 |
0.002 |
2 |
16、18、19 | 42 | 30 | 42 | |||||||||
20、22、24 |
52 |
38 |
52 | |||||||||
LX2 |
560 | 6300 | 20、22、24 |
120 |
55 |
28 |
0.009 |
5 | ||||
25、28 | 62 | 44 | 62 | |||||||||
30、32、35 | 82 | 60
| 82 | |||||||||
LX3 | 1250 | 4700 | 30、32、35、38 | 160 | 75 |
36 |
0.026 |
8 | ||||
40、42、45、48 |
112 |
84 |
112 | |||||||||
LX4 | 2500 | 3800 | 40、42、45、48、50、55、56 | 195 | 100 |
3 |
45 | 0.109 | 22 | |||
60、63 |
142 |
107
|
142 |
|
|
|
| |||||
LX5 | 3150 | 3450 | 50、55、56、60、63、65、70、71、75 | 220 | 120 | 0.191 | 30 | |||||
LX6 | 6300 | 2720 | 60、63、65、70、71、75、80 |
280 |
140 |
4 |
56 |
0.543 |
53 | |||
85 | 172 | 107 | 172 | |||||||||
LX7 |
11200 |
2360 | 70、71、75 | 142 | 107 | 142 |
320 |
170 |
1.314 | 98 | ||
80、85、90、95 | 172 | 132 | 172 | |||||||||
100、110 |
212 |
167 |
212 | |||||||||
LX8 | 16000 | 2120 | 80、85、90、95、100、110、120、125 | 360 | 200 |
5 | 2.023 | 119 | ||||
LX9 | 22400 | 1850 | 100、110、120、125 | 410 | 230 | 65 | 4.386 | 197 | ||||
130、140 | 252 | 202 | 252 | |||||||||
LX10 |
35500 |
1600 | 110、120、125 | 212 | 167 | 212 |
480 |
280 |
6
|
75
75 |
9.760 |
322 |
130、140、150 | 252 | 202 | 252 | |||||||||
160、170、180 | 302 | 242 | 302 | |||||||||
LX11 |
50000 |
1400 | 130、140、150 | 252 | 202 | 252 |
540 |
340 |
6 |
20.05 |
520 | |
160、170、180 | 302 | 242 | 302 | |||||||||
190、200、220 | 352 | 282 | 352 | |||||||||
LX12 | 80000 | 1220 | 160、170、180 | 302 | 242 | 302 |
630 |
400 |
7 |
90 |
37.71 |
714 |
190、200、220 | 352 | 282 | 352 | |||||||||
240、250、260 | 410 | 330 | — | |||||||||
LX13 | 125000 | 1080 | 190、200、220 | 352 | 282 | 352 |
710 |
465 |
8 |
100 |
71.37 |
1057 |
240、250、260 | 410 | 330 | — | |||||||||
280、300 | 470 | 380 | — | |||||||||
LX14 |
180000 |
950 | 240、250、260 | 410 | 330 | — |
800 |
530 |
8 |
110 |
170.6 |
1956 |
280、300、320 | 470 | 380 | — | |||||||||
340 | 550 | 450 | — | |||||||||
注:本联轴器适用于连接两同轴线的传动轴系,并具有补偿两轴相对位移和一般减振性能。工作温度-20~+70℃
6、梅花形弹性联轴器
梅花形联轴器是将一个整体的梅花形弹性环装在两个形状相同的半联轴器的凸爪之间,以实现两半联轴器的连接。通过凸爪与弹性环之间的挤压传递动力,通过弹性环的弹性变形补偿两轴相对偏移,实现减振缓冲。

ML型梅花联轴器基本参数和尺寸
型号 | 公称扭矩Tn( N·m) | 许用转速[n](r/min) | 轴孔直径d1,d2,dz | 轴孔长度 | L0 | D | S | 弹性件型号 | 质量Kg | ||||
弹性件硬度HA | |||||||||||||
Y | Z、J | ||||||||||||
a | b | c | 铁 | 钢 | |||||||||
L | L1 | ||||||||||||
≥75 | ≥85 | ≥94 | |||||||||||
ML1 | 16 | 25 | 45 | 11500 | 15300 | 12,14 | 32 | 27 | 80 | 50 | 2 | MT1 | 0.66 |
16,18,19 | 42 | 30 | 100 | ||||||||||
20,22,24 | 52 | 38 | 120 | ||||||||||
ML2 | 63 | 100 | 200 | 8200 | 10900 | 20,22,24 | 52 | 38 | 127 | 70 | 2.5 | MT2 | 1.55 |
25,28 | 62 | 44 | 147 | ||||||||||
30,32 | 82 | 60 | 187 | ||||||||||
ML3 | 90 | 140 | 280 | 6700 | 9000 | 22,24 | 52 | 38 | 128 | 85 | 3 | MT3 | 2.5 |
25,28 | 62 | 44 | 148 | ||||||||||
30,32,35,38 | 82 | 60 | 188 | ||||||||||
ML4 | 140 | 250 | 400 | 5500 | 7300 | 25,28 | 62 | 44 | 151 | 105 | 3.5 | MT4 | 4.3 |
30,32,35,38 | 82 | 60 | 191 | ||||||||||
40,42 | 112 | 84 | 251 | ||||||||||
ML5 | 250 | 400 | 710 | 4600 | 6100 | 30,32,35,38 | 82 | 60 | 197 | 125 | 4 | MT5 | 6.2 |
40,42,45,48 | 112 | 84 | 257 | ||||||||||
ML6 | 400 | 630 | 1120 | 4000 | 5300 | 35,38 | 82 | 60 | 203 | 145 | 4.5 | MT6 | 8.6 |
40,42,45,48,50,55 | 112 | 84 | 263 | ||||||||||
ML7 | 710 | 1120 | 2240 | 3400 | 4500 | 45,48,50,55 | 112 | 84 | 265 | 170 | 5.5 | MT7 | 14 |
60,63,65 | 142 | 107 | 325 | ||||||||||
ML8 | 1120 | 1800 | 3550 | 2900 | 3800 | 50,55 | 112 | 84 | 272 | 200 | 6.5 | MT8 | 25.7 |
60,63,65,70,71,75 | 142 | 107 | 332 | ||||||||||
ML9 | 1800 | 2800 | 5600 | 2500 | 3300 | 60,63,65,70,71,75 | 142 | 107 | 334 | 230 | 7.5 | MT9 | 41 |
80,85,90,95 | 172 | 132 | 394 | ||||||||||
ML10 | 2800 | 4500 | 9000 | 2200 | 2900 | 70,71,75 | 142 | 107 | 344 | 260 | 7.5 | MT10 | 59 |
80,85,90,95 | 172 | 132 | 404 | ||||||||||
100,110 | 212 | 167 | 484 | ||||||||||
ML11 | 4000 | 6300 | 12500 | 1900 | 2500 | 80,85,90,95 | 172 | 132 | 411 | 300 | 8.5 | MT11 | 87 |
100,110,120 | 212 | 167 | 491 | ||||||||||
ML12 | 7100 | 11200 | 20000 | 1600 | 2100 | 90,95 | 172 | 132 | 417 | 360 | 9 | MT12 | 140 |
100,110,120,125 | 212 | 167 | 497 | ||||||||||
130 | 252 | 202 | 577 | ||||||||||
ML13 | 8000 | 12500 | 25000 | 1400 | 1900 | 100,110,120,125 | 212 | 167 | 497 | 400 | 9 | MT13 | 160 |
130,140 | 252 | 202 | 577 | ||||||||||
注:红色轴孔直径可用于Z型轴孔 | |||||||||||||
七、滑块联轴器

WH型滑块联轴器基本参数和尺寸
型号 | 公称转矩Tn(N.m) | 许用转速[n]r/min | 轴孔直径 | 轴孔长度 | D | D1 | B1 | B2 | l | 转动惯量Kg.m2 | 质量kg | |
d1 d2 | Y | J1 | ||||||||||
L | ||||||||||||
mm | ||||||||||||
WH1 | 16 | 10000 | 10,11 12,14 | 25-32 | 22-27 | 40 | 30 | 52 | 13 | 5 | 0.0007 | 0.6 |
32-42 | 27-30 | |||||||||||
WH2 | 31.5 | 8200 | 12,12,16,(17),18 | 50 | 32 | 56 | 18 | 5 | 0.0038 | 1.5 | ||
WH3 | 63 | 7000 | 16,(17),18,20,22 | 42-52 | 30-38 | 70 | 40 | 60 | 18 | 5 | 0.0063 | 1.8 |
52-62 | 38-44 | |||||||||||
WH4 | 160 | 5700 | 20,22,24,25,28 | 80 | 50 | 64 | 18 | 8 | 0.013 | 2.5 | ||
WH5 | 280 | 4700 | 25,28,30,32,35 | 62-82 | 44-60 | 100 | 70 | 75 | 23 | 10 | 0.045 | 5.8 |
82-112 | 60-84 | |||||||||||
WH6 | 500 | 3800 | 30,32,35,38,40,42,45 | 120 | 80 | 90 | 33 | 15 | 0.12 | 9.5 | ||
WH7 | 900 | 3200 | 40,42,45,48,50,55 | 112 | 84 | 150 | 100 | 120 | 38 | 25 | 0.43 | 25 |
112-142 | 84-107 | |||||||||||
WH8 | 1800 | 2400 | 50,55,60,63,65,70 | 190 | 120 | 150 | 48 | 25 | 1.98 | 55 | ||
WH9 | 3550 | 1800 | 65,70,75,80,85 | 172-212 | 132-167 | 330 | 190 | 180 | 58 | 40 | 4.9 | 85 |
172-212 | 132-167 | |||||||||||
WH10 | 5000 | 1500 | 80,85,90,95,100 | 330 | 190 | 180 | 58 | 40 | 7.5 | 120 | ||
注:1、装配时两轴的许用补偿量:轴向ΔX=1~2mm,径向ΔY≤0.2mm,角向Δα≤0°40′
2、括号内的数值尽量不用
3、本联轴器具有一定补偿两轴相对偏移量、减振和缓冲性能,适用于中、小功率,转速较高,转矩较小的轴系传动,如控制器、油泵等装置,工作温度-20~+70℃
