车内孔震刀原因及解决办法【秘籍】
车削内孔的加工中,刀具的振动将会影响到加工精度。在传统机械加工车间中刀具振动的解决还是采用老式的加工理论,往往是以牺牲生产效率为代价,并且其中许多加工理念已经不再适合现代加工技术。但随着国外越来越多先进的机夹刀具进入到传统机械加工车间后,给我们带来了新的加工理念。现在向大家介绍这种高效率的解决方法,希望对各位有所帮助。
刀具振动的原因:
刀具振动实际应该切削振动,通常发生在长悬臂刀杆的镗削和铣削,薄壁件的切削加工等。切削振动顾名思义只有在刀具进行切削时才产生。而切削振动最明显的是工件被加工表面有振纹。我们将振动分为三种。它们是高频振动、中频振动和低频振动。
我们以内孔车刀杆的振动分析来看:刀尖切削工件时会产生切削力,这个力使镗刀杆产生弹性变形,当刀尖上的铁屑断掉后,刀杆的弹性变形就恢复。随着铁屑不断产生在断掉,那么径向切削力随着铁屑的生成和断裂由大到小不断变化,形成正玄波动镗削力F。此力的大小和方向是一直有规律的变化,如果切削力的变化频率等于或在刀具固有的弹变频率范围之内,镗削振动就产生了。其实任何强壮的刀杆都不能确保切削时刀杆不会产生弹变,实际上刀片在切削时都是颤动的,但是只有弹变足够大时颤动才变为震动。
因此我们得到这样的结论:刀具在切削工件时发生振动需要有以下三个条件同时存在:第一是包括刀具在内的工艺系统刚性不足导致其固有频率低,第二是切削时产生了一个足够大的外激力,第三是这个外激力的频率与工艺系统固有频率相同随即产生共振。
机加工描述 | 产生振动的极限条件 |
内孔车削、镗削 | 通用的HRC40以上的合金钢刀杆,刀杆夹持悬伸与刀杆直径比大于4;同时刀杆夹紧采用螺栓侧压,定位采用V型铁或孔柱间隙配合;刀尖偏离孔中心线0.1mm以上 |
内孔槽的车削或镗削 | 通用的HRC40以上的合金钢刀杆,刀杆夹持悬伸与刀杆直径比大于2;刀杆夹紧采用螺栓侧压,定位采用V型铁或孔柱间隙配合 |
那么消除振动的方法便可根据下面三个原则:
一是减小切削力至最小;二是尽量增强刀具系统或者夹具与工件的刚性;三是在刀杆内部再制造一个振动去打乱外激切削力的振频,从而消除刀具振动。
1.采用阻尼避振刀杆从而减轻振动
我们虽然可通过改变刀杆的材质来达到消振的目的。即把钢质刀杆改成整体硬质合金刀杆或重金属刀杆,它的刀杆夹持悬伸与刀杆直径避振极限比值(简称长径比)可达7-8倍。是因为这些材料的抗压强度大,合金钢的抗压强度为210 Gpa,而整体硬质合金的抗压强度为900 Gpa,是钢刀杆强度的2.5倍。重金属是一种高比重的合金材料,淬火之前很软容易切削成型,成型后可以淬硬,但是它的减振效果不如整体硬质合金刀杆。但随着采用重金属和整体硬质合金做为刀杆,刀杆的重量增加许多;价格也上涨了许多,这是许多生产厂家在经济上无法保证,有时甚至无法实现的。
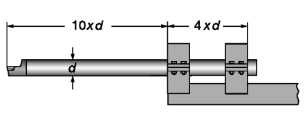
现在我们可从图1中可看出,内孔车削受力复杂,单纯提高刀体的强度很难解决振动问题,而且都会降低生产效率,牺牲刀片刃口的安全性。如果生产任务要求我们高效安全的进行更深的孔的加工,而且重复生产的操作性要强,解决这一瓶颈的办法就是采用阻尼避振刀杆。

图1
我们可以从一表格中了解各种材质的刀杆的夹持悬伸与刀杆直径避振极限比值(简称长径比):
刀杆描述和加工部位 | 主要减振策略 | 长径比 |
合金钢刀杆车削内孔 | 降低和抑制切削力,增强刀具和工件的静态刚性 | 4:1 |
硬质合金刀杆车削内孔 | 降低和抑制切削力,增强刀具和工件的静态刚性 | 5~6:1 |
标准Teness阻尼避振刀杆车削内孔 | 增强刀具动态刚性 | 12:1 |
特殊Teness阻尼避振刀杆车削内孔 | 专门加工设计的增强刀具的动态刚性系统同时增强刀具的静态刚性 | 15~16:1 |
首先要理解阻尼避振杆的工作原理,见图2。假设在质量块m的下面再用弹簧P吊装另一个小质量g,只要依据一定的公式调节弹簧P的阻尼(例如做成铜丝弹簧或者腰鼓型的弹簧另外改变弹簧的长度)和g的质量,在外力锤击m后g通过P和m一起振动,但是振频相差
/2,即m向下落时g开始向上弹,m向上弹时g向下落,从而在m振动不到一个周期内将m至于平稳状态,随然外力F不断按一定的频率施加在m上,但之间g随着F振动而m始终是近乎静止的。见图2。
图2
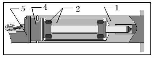
其次我们再来分析阻尼避振镗刀杆的内部结构。见图3。

图3
1、镗刀杆的前部是空管,中间的管是内冷水供应管,越是深孔加工,冷却和排屑越重要。
2、黑色的是强力橡胶圈,上面支撑的灰色环是硬质合金环,它们两个与刀杆内壁之间充满了液压油;
3、橡胶圈,硬质合金环与液压油构成了一个阻尼质量系统相当于上图2中的P和g,而且这一系统的阻尼可以做成阻尼可调节的机构。
4、570接口与刀杆过盈安装;
5、570齿牙接口前端可以安装各种内孔车刀,比如镗刀、槽刀和螺纹刀。
例如:悬伸300毫米的25毫米直径阻尼镗杆,在镗削调质钢40Cr时,切深1.5毫米,走刀0.02毫米。刀尖从切到工件开始振动(振幅0.12毫米)到刀尖被消除振动只用了0.03秒。见图4所示

图4
此外还可采用重金属、硬质合金为刀杆材料再加上减振机构的组合,这样可达到刀杆的夹持悬伸与刀杆直径避振极限比值即长径比14。达到最佳的避振效果,从而减轻振动。
2.降低切削力产生的切削振动从而减轻振动
⑴ 对于细长刀杆的镗刀或者细长杆的外圆车削时,采用90°主偏角的刀具有利于消振。因为无论是外圆车刀车削细长轴,还是细长刀杆的镗刀镗孔,总是90°主偏角的刀具产生的径向切削力最小,同时刀片刃口产生的轴向力最大;45度主偏角的车镗刀易发生切削振动,因为产生振动的径向切削力与轴向力相等,而使用圆刀片时径向切削力大于轴向力,最易发生振动。见图5

图5
⑵ 切深一定时减小刀尖圆弧半径rε可以降低切削力特别是径向切削力,而径向切削力是使细长杆类刀具或工件切削发生振动的罪魁祸首。刀尖圆弧半径与振动倾向的关系是:在相同的切削深度时,刀尖圆弧半径越大,细长刀杆发生振动的倾向越大,无论是镗削还是铣削。见图6
图6
rε=0.2 时,切削力较小 rε=0.8时,切削力较大
⑶ 使用锋利的刀片来降低切削力。机加刀片分为涂层和非涂层刀片,非涂层刀片通常比涂层刀片要锋利,因为刀片如果要涂层一定要进行刃口的钝化处理,锋利的刃口将影响涂层在刃口部位的粘结强度。即便是涂层刀片,物理刀片(PVD)也比化学涂层(VCD)刃口要锋利。因为化学涂层材料经常是大约10微米厚的三氧化铝。我们知道,现代机夹刀片采用的刀片材料按照其硬度分为六类:非涂层硬质合金、涂层硬质合金、金属陶瓷、陶瓷、立方氮化硼CBN和人造金刚石。因此,若使切削力降低,推荐使用非涂层硬质合金或物理涂层的钴基硬质合金刀片。
⑷ 内孔镗削时刀片刃形角越小越好,这样副主偏角很大,副刃口与被加工面的颤动接触区小,颤动很难变成振动,副切削刃挤削的机会也小。图中黄色部分是接触区,可以很明显看出刀片刃形角等于55°比80°的颤动接触区小,这样振动的机会很少。
见图7。
图7
⑸ 使用正前角和大后角的刀片配以轻快的断屑槽。这样的刀片在镗削中的切削楔入角最小,切削当然轻快。在车削与镗削中,主要推荐7度和11度后角的刀片,这是最常见的刀片,也是ISO标准刀片,不同厂家的刀片可以互换。
⑹ 调整切削参数。 调整切削参数只对切削振动不严重的刀具可能有效,一般的调整方法如下:减低刀具或者工件的回转速度,减小切深并提高刀具每转走刀量。在内螺纹的车削中若产生振动,可以完成螺纹车削的进刀步骤减小1至2刀。
3. 改善刀杆的夹持方法从而减轻振动
⑴ 传统的螺钉夹紧的方法是不利于消除振动的,最好的办法也是最易操作的是采用变形夹套的方法。如图8所示。
这种方法先镗出与刀杆为过渡配合的孔,若是刀杆直径比较大如80毫米,可将孔的一侧铣开。侧面的夹紧螺钉中要有两个顶丝,利用大径较重的刀杆装配,其余的为刀杆夹紧螺栓。对于中小直径刀杆则是将孔剖为两半,每半的圆弧面淬火到HRC45,螺栓为两侧共同夹紧。夹套下面通常为铸铁机座。

图8
⑵ 采用Capto刀柄模块夹持方式。Capto刀柄模块系统采用先进的短锥大端面双定位面系统。它的±2μm的重复定位精度和完美的抗弯与抗扭特性使刀柄系统刚性得以保持,因为良好的组合性,倒锥型刀柄最大限度的提高了镗铣刀具的抗弯性能。并且这种接口具有广泛的通用性。见图9

图9
4.采用刀具内部冷却的方式。
内冷却和排屑这两个问题虽然不会直接影响到加工振动,但对工艺可行性和稳定性有很大的影响,冷却不充分和排屑不畅会直接导致刀具寿命急剧下降、甚至是工艺方案不成立。由于采用常见的加冷却液的方法无法到达深孔加工的部位,因此排屑和冷却是没有效果的。所以在深孔加工中采用了刀具内部冷却的方式,这种镗刀杆的前部是空管,中间的管是冷水供应管,它有效地降低了加工部位的温度,并且利用冷却液的压力迅速带走了铁屑。因此越深孔加工,冷却和排屑越重要。
结束语:
传统的方法在解决问题的过程中浪费了大量的时间和人力,即便当前的问题解决了,往往是以牺牲生产效率为代价,甚至造成了新的隐患。然而高效率深孔加工是一个要求非常苛刻的课题,在很多场合下,众多条件,缺一不可。虽然采用了现代机夹刀具及先进的夹持方式能在高速切削加工中完成深孔车镗加工,甚至会迅速提高机加车间的生产效率,但是要求生产者一定要全面考虑加工条件,并结合机床自身条件和工件的加工工艺作出正确判定。
扩展资料:
车内孔加工方法:
镗孔:
在车床上对工件的孔进行车削的方法叫镗孔(又叫车孔),铸造孔、锻造孔或用钻头钻出来的孔,为了达到所要求的精度和表面质量,还需要镗孔。镗孔是常用的孔加工方法之一,可以作粗加工,也可以作精加工,加工范围很广。
钻孔:
用钻头在工件实体部位加工孔称为钻孔。故钻孔有以下工艺特点:
(1) 钻头容易偏斜。由于横刃的影响定心不准,切人时钻头容易引偏;且钻头的刚性和导向作用较差,切削时钻头容易弯曲。在车床上钻孔时,容易引起孔径的变化,但孔的轴线仍然是直的。因此,在钻孔前应先加工端面,并用钻头或中心钻预钻—个锥坑,以便钻头定心。钻小孔和深孔时,为了避免孔的轴线偏移和不直,应尽可能采用工件回转方式进行钻孔。
(2) 孔径容易扩大。钻削时钻头两切削刃径向力不等将引起孔径扩大;卧式车床钻孔时的切人引偏也是孔径扩大的重要原因;此外钻头的径向跳动等也是造成孔径扩大的原因。
(3)孔的表面质量较差。钻削切屑较宽,在孔内被迫卷为螺旋状,流出时与孔壁发生摩擦而刮伤已加工表面。