激光切割机调光技巧【干货】
激光切割是将激光束通过聚焦镜聚集成很小的光点投射到金属表面,焦点处达到很高的功率密度,这时材料被照射部位很快加热至汽化温度,蒸发形成孔洞,随着光束与材料相对线性移动,使孔洞连续形成宽度很窄的切缝,从而达到切割材料的目的。

激光切割机在长期的工作时,光路会发生偏差,影响切割效果。只有激光管、反射镜架(A、B、C)及聚焦镜和相应的调节装置的完美配合才能达到最好的效果,加工出最好的产品来,这是使用激光切割机的核心部分。所以,定时的检查光路以及调整是非常必要的工作。
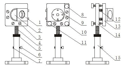
各部件及结构
反射镜架A

1.光靶放置架2.反射镜3.拉簧锁紧螺丝4.调节螺杆5.调节螺母6.锁紧螺丝a7.锁紧螺丝b 8.调节螺丝M1 9.反射镜锁紧片10.调节螺丝M 11.调节螺丝M2.12.拉簧13.反射镜安装板14.支撑板15.底座.
反射镜架B(其安装底板与A镜架不同外其余相同)。
1.安装底板(可左右移动)
2.锁紧螺丝
反射镜架C

1.反射镜调整板2.反射镜3.锁紧螺丝4.调节螺丝M1 5.反射镜调整板6.反射镜压紧板7.调节螺丝M 8.锁紧螺丝9.调节螺丝M2
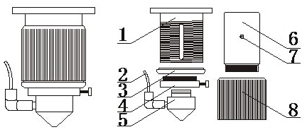
聚焦镜

1.聚焦镜内筒2.进气管3.限位螺圈4.气嘴过渡套5.气嘴6.镜筒7.限位螺丝8.调节套筒.
了解了各个部件的名称,下面我们就来教大家调整激光切割机光路的方法:
四道光路调整
(1)第一道光的调整,用美纹纸贴在反射镜A的调光靶孔上,手动点动出光(注此时功率不要用太大),微调反射镜A的底座及激光管支架,使光打在靶孔中心,注意光不能被挡。
(2)第二道光的调整,将反射镜B移至远程,用张硬纸板由近至远出光,把光导进十字光靶里,因为远程光在靶里边则近端一定在靶里边,接着把近端和远程光斑调为一致,即近端怎偏,远程也跟着怎么偏,使十字架在近端和远程光斑中都处在同一个位置即近是(远是)说明光路与Y轴导轨平行。
(3)第三道光的调整(注:十字架将光斑左右对分),将反射镜C移至远程,把光导进光靶,在进端与远程各打靶一次,对比十字架的位置调成跟近端光斑中十字架的位置一样,这时表明光束与X轴平行。此时光路偏里或外,则需将镜架B上的M1、M2、M3同松或紧,直至左右对分。
(4)第四道光的调整,用一块美纹纸粘在出光口上,使出光孔在胶纸上留下一个圆形痕迹,点动出光,取下胶纸观察小孔位置,视情况调节镜架C上的M1、M2、M3直至光斑圆且正为止。