光学经纬仪的使用方法和步骤【干货技巧】
光学经纬仪构造和使用,是DJ6型的,老放线员应该记得。
经纬仪概述:
经纬仪的种类繁多,如按读数系统区分,可以分成光学、游标和电子经纬仪等。
现在使用的大多是光学经纬仪,它较之游标经纬仪有精度高、体积小、重量轻、密封性能良好等优点。
我国对经纬仪编制了系列标准,分别为DJ07、DJ1、DJ2、DJ6、DJ15及DJ60等级别。
其中07、1、2、6、15等数字,表示该仪器所能达到的精度指标。如:DJ07和DJ6分别表示水平方向测量一测回的方向中误差不超过±0.7″和±6″的大地测量经纬仪。
DJ6级光学经纬仪的构造:
各种型号的DJ6级光学经纬仪的构造大致相同。
如下图:

DJ6型光学经纬仪主要由基座、水平度盘和照准部三部分组成。
如下图:

![]()
⒈基座⒉水平度盘⒊照准部变换手轮、复测器
DJ6型光学经纬仪读数装置和操作使用:
分微尺测微器及读数方法:
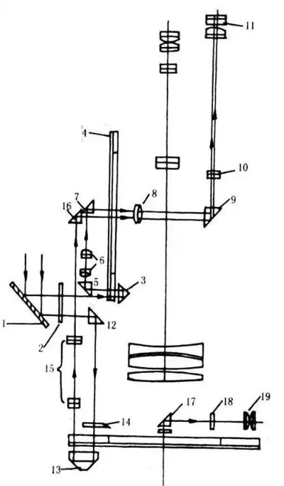
1、 DJ6级光学经纬仪分微尺测微器光路图
如下图:

2、读数方法
如下图:

单平板玻璃测微器及读数方法:
如下图:



经纬仪的使用:
经纬仪的使用包括对中、整平、瞄准、读数四个步骤。
⑴ 对中:对中的目的是使仪器的中心与测站点位于同一铅垂线上。对中可用垂球或光学对点器对中。垂球对中精度一般在3mm之内,光学对点器对中可达1mm。
⑵ 整平:整平的目的是使仪器竖轴在铅直位置,而水平度盘在水平位置。
如下图:

⑶ 瞄准:瞄准方法同水准仪操作,只是测量水平角时应使十字丝纵丝平分或夹准目标,并尽量对准目标底部。
如下图:

⑷ 读数:读数时要先调节反光镜,使读数窗明亮,旋转显微镜调焦螺旋,使刻划数字清晰,然后读数。测竖直角时注意调节竖盘水准气泡微动螺旋,使气泡居中后再读数。
扩展资料:
主要功能:
光学经纬仪的主要功能是测量纵、横轴线(中心线)、垂直度以及水平角度和竖直角度的控制测量等。光学经纬仪主要应用于机电工程建(构)筑物建立平面控制网的测量以及厂房(车间)柱安装铅垂度的控制测量,用于测量纵向、横向中心线,建立安装测量控制网并在安装全过程进行测量控制。