换向阀的工作原理【详解】
换向阀工作与原理
利用阀芯对阀体的相对运动,使油路接通、关断或变换油流的方向,从而实现液压执行元件及其驱动机构的启动、停止或变换运动方向。
按阀芯相对于阀体的运动方式:滑阀和转阀
按操作方式:手动、机动、电磁动、液动和电液动等按阀芯工作时在阀体中所处的位置:二位和三位等。按换向阀所控制的通路数不同:二通、三通、四通和五通等。
1、工作原理
图4-3a所示为滑阀式换向阀的工作原理图,当阀芯向右移动一定的距离时,由液压泵输出的压力油从阀的P口经A口输向液压缸左腔,液压缸右腔的油经B口流回油箱,液压缸活塞向右运动;反之,若阀芯向左移动某一距离时,液流反向,活塞向左运动。 图4-3b为其图形符号。

2、 换向阀的结构
1) 手动换向阀
利用手动杠杆来改变阀芯位置实现换向。分弹簧自动复位(a)和弹簧钢珠(b)定位两种。

2) 机动换向阀
机动换向阀又称行程阀,主要用来控制机械运动部件的行程,借助于安装在工作台上的档铁或凸轮迫使阀芯运动,从而控制液流方向。

3) 电磁换向阀
利用电磁铁的通电吸合与断电释放而直接推动阀芯来控制液流方向。它是电气系统和液压系统之间的信号转换元件。
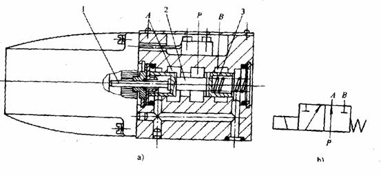
图4-9a所示为二位三通交流电磁阀结构。在图示位置,油口 P和A相通,油口B断开;当电磁铁通电吸合时,推杆1将阀芯2推向右瑞,这时油口P和A断开,而与B相通。当电磁铁断电释放时,弹簧3推动阀芯复位。图 4-9b为其图形符号。

4) 液动换向阀
利用控制油路的压力油来改变阀芯位置的换向阀。阀芯是由其两端密封腔中油液的压差来移动的。如图所示,当压力油从K2进入滑阀右腔时,K1接通回油,阀芯向左移动,使P和B相通,A和T相通;当K1接通压力油,K2接通回油,阀芯向右移动,使P和A相通,B和T相通;当K1和K2都通回油时,阀芯回到中间位置。

5)电液换向阀
由电磁滑阀和液动滑阀组成。电磁阀起先导作用,可以改变控制液流方向,从而改变液动滑阀阀芯的位置。用于大中型液压设备中。

3、 换向阀的性能和特点
1)滑阀的中位机能
各种操纵方式的三位四通和三位五通式换向滑阀,阀芯在中间位置时,各油口的连通情况称为换向阀的中位机能。其常用的有“O”型、“H”型、“P”型、K”型、“M”型等。
分析和选择三位换向阀的中位机能时,通常考虑:
(1) 系统保压 P口堵塞时,系统保压,液压泵用于多缸系统。
(2) 系统卸荷 P口通畅地与T口相通,系统卸荷。(H K X M型)
(3) 换向平稳与精度 A、B两口堵塞,换向过程中易产生冲击,换向不平稳,但精度高;A、B口都通T口,换向平稳,但精度低。
(4) 启动平稳性 阀在中位时,液压缸某腔通油箱,启动时无足够的油液起缓冲,启动不平稳。
(5) 液压缸浮动和在任意位置上停止
2)滑阀的液动力
由液流的动量定律可知,油液通过换向阀时作用在阀芯上的液动力有稳态液动力和瞬态液动力两种。
(1)稳态液动力:阀芯移动完毕,开口固定后,液流流过阀口时因动量变化而作用在阀芯上有使阀口关小的趋势的力,与阀的流量有关。
(2)瞬态液动力:滑阀在移动过程中,阀腔液流因加速或减速而作用在阀芯上的力,与移动速度有关。
3)液压卡紧现象
卡紧原因:脏物进入缝隙;温度升高,阀芯膨胀;但主要原因是滑阀副几何形状和同心度变化引起的径向不平衡力的作用,其主要包括:
a阀芯和阀体间无几何形状误差,轴心线平行但不重合
b 阀芯因加工误差而带有倒锥,轴心线平行但不重合
c 阀芯表面有局部突起
减小径向不平衡力措施:
1) 提高制造和装配精度
2) 阀芯上开环形均压槽