弹簧垫圈的作用及原理【详解】
在各类机械连接件中,螺栓的防松是一个很重要的环节。生活中有很多方法来预防螺栓松动,其中就包括使用弹簧垫圈来防松。弹簧垫圈在螺丝行业,常叫为弹垫。那么为什么它会被频繁使用呢,这得从弹簧垫圈的作用及原理说开去。
一、弹簧垫圈的作用:
弹簧垫圈的基本作用是在螺母拧紧之后给螺母一个力,增大螺母和螺栓之间的摩擦力!也就是为了防止运行中的设备震动造成紧固螺栓的松动,而增加的一种防护措施。
二、弹簧垫圈的防松原理:
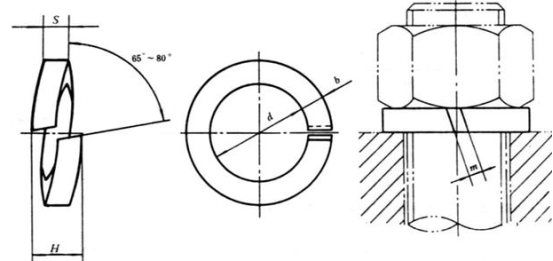
弹簧垫圈的防松原理是在把弹簧垫圈压平后,弹簧垫圈会产生一个持续的弹力,使螺母与螺栓的螺纹连接副持续保持一个摩擦力,产生阻力矩,从而防止螺母松动。同时弹簧垫圈开口处的尖角分别嵌入螺栓和被连接件表面,从而防止螺栓相对于被连接件回转。
然而,实践证明,弹簧垫圈只能提供10 N/m的弹力,而10 N/m的弹力对于280 N/m的螺栓预紧力矩来说可以忽略。其次,这么小的力,不足以使弹簧垫圈切口处的尖角嵌入螺栓和被连接件表面。折卸后观察,螺栓和被连接件表面都没有明显的嵌痕。所以,弹簧垫圈对螺栓的防松作用可以忽略。

从弹簧垫圈的作用及原理来看,用弹簧垫圈来防松并不是一种很好的防松方法,还是该寻找一种比较理想的靠增加摩擦阻力矩的防松方法。
扩展资料:
用途:
弹簧垫圈装置在螺母下面用来防止螺母松动。
在国家标准中都有说明。
六角开槽螺母是专供与螺杆末端带孔的螺栓配合使用,以便把开口销从螺母的槽中插入螺杆的孔中,防止螺母自动回松,主要用于具有振动载荷或交变载荷的场合。
在机械设计、制作中防止螺母(或螺栓)自动回松的方法有:
1.加垫弹簧垫圈;(简单易做)
2.用六角开槽螺母+开口销;(同比增加了加工工序)
3.加垫止动垫圈;(同比增加了加工工序)
4.六角螺栓的六角头开孔插入钢线。(同比增加了加工工序)
弹簧垫圈用于防松,比如电机与机座连接的螺栓一般要加弹簧垫,因为电机震动如果没有弹簧垫,螺母会松动 一般带有震动的装备上的紧固件上装有弹簧垫片,法兰上一般不需加垫片!法兰上加不加弹簧垫片和管道流通的介质有关系,如果容易产生脉冲的,最好加弹簧垫片,还有高速流体,口径变化频繁.不要一概而论.有些阀门上,填料函压盖法兰都需要加弹簧垫片的. 弹簧垫片快易优自动化选型有收录。