伺服液压阀有多少种类
张海平博士说:液压阀,本质上来说,只是一个“其液阻可调的装置”,仅此而已,不多也不少。所有的液压阀都必须能做到“调节液阻”,而且也只能做这件事,无一例外。从这个本质出发,就能够比较容易并且全面地理解液压阀,特别是,工程机械中的一些组合阀、一些结构复杂的液压阀,在实际液压系统中,在不同工况下可能有的种种效应和现象。

液压技术发展到今天,液压阀的种类是眼花撩轮,不同的国家甚至同一个国家不同的公司对液压阀的分类都不尽相同。这篇文章编者就以市场上常见阀的种类做一个简单的总结以供参考。
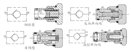
单向阀
单向阀可分为普通单向阀和液控单向阀,普通单向阀只允许液流单向通过,液控单向阀在先导压力的作用也可反向流动。

钢球型:钢球形单向阀为使用硬化钢制球密封阀座的单向阀。 其设计简单, 减少系统使用周期中的泄露现象。钢球型单向阀虽然结构简单,但密封性不如锥阀型,并且钢球没有导向部分,容易产生振动和噪声。
座阀型:单向阀为座阀式元件, 允许流体沿一个方向自由流动, 防止流体反方向流动。他们可以用于隔断液压环路的各个环节,或者在限制阀周围制造自由流动路径。
反向单向阀:侧凸单向阀是一种特殊的单向阀, 自由流动路径为插装阀侧向口到底端口。 其功能与标准单向阀相同。 阀块设计师偶尔使用侧管口单向阀来简化阀块的流动路径设计。
先导式单向阀:指的是可以通过外部先导压力打开的单向阀。 因此, 先导式单向阀可阻断流体向一个方向的流动, 如同标准的单向阀, 但是可以在施加适当的先导压力后将其打开。 允许朝向反方向的自由流动。 先导式单向阀通常强制锁定双动气缸。 先导式单向阀分为两种: 螺纹插装式和先导活塞式。 中位时, 这些阀门与控制阀(阀口下端接回油箱) 配合使用效果最佳。
梭阀
梭阀可从两个不同的源接受液流, 并将最高的压力传递到一个单独的出口。 梭阀常用于负载感应回路和制动油路。包括球型、 座阀型和滑阀型。

钢球型:该阀有一个钢球, 可以密封两个相邻阀座中的任一支路, 为最高压力信号转到另一出口提供了路径。 当一个进口受压时, 会强制球体或座阀向相反的阀座靠拢, 从而堵住相反方向的进口, 将液流排向出口。
座阀型:这种梭阀具有相同的功能, 但由于采用座阀的结构, 因而流速较高。
滑阀型:滑阀型梭阀的流速较高。 它们属于两位阀。
三通两位滑阀型梭阀设计用于导流, 从而发出高压信号, 以打开低压端口, 并将其连接至通用出口。 当阀芯任一端的压力超过弹簧设定值时, 这些弹簧居中阀便会移位。 它们通常用于闭式系统热油冲洗回路。
溢流阀
溢流阀在不同的场合有不同的用途。如在定量泵节流调速系统中,溢流阀用来保持液压系统的压力(即液压泵出口压力)恒定,并将液压泵多余的流量溢流回油箱,这时溢流阀作定压阀用。在容积节流调速系统中,溢流阀在液压系统正常工作时处于关闭状态,只是系统压力大于或等于溢流阀调定压力时才开启溢流,对系统起过载保护作用,这时溢流阀作安全阀用。
直动式溢流阀:直动

式溢流阀专为间歇负载应用中应对快速响应而设计。 它们通常用作降低压力尖锋的经济型解决方案。 座阀设计可以减少渗漏。
差动溢流阀差动溢流阀也是间歇负载应用的最佳选择,这类应用中快速响应十分重要。这类阀门通常用作交叉溢流阀, 用以降低压力尖锋。 由于其设计, 通常它们可以控制较大的流量, 并且比标准直动式溢流阀的压升低。 座阀设计可以减少渗漏。
先导溢流阀:先导溢流阀的设计适用于连续负载应用。由于先导溢流阀性能稳定且压升低,因此是设置液压系统的最佳选择。
减压阀
减压阀是一种利用液流流过缝隙产生压力损失,使其出口压力低于进口压力的压力控制阀。按调节要求不同,减压阀可分为定压减压阀、定比减压阀和定差减压阀。定压减压阀用于控制出口压力为定值,使液压系统中某一部分得到较供油压力低的稳定压力,如机床液压系统的夹紧或定位装置中要求得到比主油路低的恒定压力时,可采用定压减压阀实现。定比减压阀用来控制它的进、出口压力保持调定不变的比例。定差减压阀则用来控制进、出口压力差为定值,可与其他阀组成调速阀、定差减压型电液比例方向流量阀等复合阀,实现节流阀口两端压差补偿以输出恒定的流量。

先导减压阀:减压阀可用于降低一条支路的压力,使其低于系统压力。因此,它们可以保护压力相对较低的下游组件。
减压阀/溢流阀:减压阀/溢流阀可用于降低一条支路的压力,使其低于系统压力。该阀门也充当溢流阀, 缓解减压端口和执行器间出现的任何压力冲击和波动。阀门处于溢流模式时, 进口端口阻断。
顺序阀
顺序阀的作用是利用油液压力作为控制信号来控制油路的通断,因用于控制多个执行元件的动作顺序而得名。顺序阀有直动式和先导式之分。根据控制压力来源的不同,有内控式和外控式之分;根据泄油式的不同,有内泄式和外泄式两种。通过改变控制压力的来源、泄油方式以及二次油路的连接形式顺序阀可作多种用途,如内控内泄式顺序阀在系统中可用作背压阀,外控内泄式顺序阀可用作卸荷阀等。

顺序阀用于控制两个或多个液压执行器的操作顺序。顺序阀的压力设置高于第一个执行器的操作压力。 一旦第一个执行器完成了循环,顺序阀就会打开,使第二个执行器开始运作。
先导和直动的区别参照溢流阀。
平衡阀
平衡阀是液压行业最不被看好的产品之一。 很多人喜欢把平衡阀的选择复杂化, 因而拒绝进行选择。

平衡阀通常具有以下几种用途:
控制超额负载:它限制来自执行器的流量, 从而迫使负载突破限制, 控制即将失控的负载。 这样做还可以防止形成空穴。
在关键测量应用中进行控制: 外部限制同时还有助于加强对负载和速度不固定的系统的控制。
保持负载:类似先导式单向阀, 负载保持在同一方向直至相应的先导压力能够开启单向阀,使液体流过。
防止软管断开:由于液体必须突破限制, 软管断开就会造成执行器受控移动,而非失控负载。
流量阀

针阀根据所需功能控制无补偿可调流量。 它们是需要一般性液压流量控制应用的理想选择, 比如泄放回路中。 在与补偿器阀芯配合使用时, 可形成压力补偿系统。
带反向单向阀的针阀有时也称为流量控制阀门。顾名思义,这类阀门在一个方向上控制无补偿的可调速度,而在相反的方向上则允许自由流动。在与补偿器阀芯配合使用时,可形成压力补偿系统。
压力补偿流量调节阀无论负载或进口压力如何变化都能保持预先设定好的流量。它们常用于准确控制执行器功能。 它们可用于进油节流和回油节流应用中。
换向阀
换向阀是利用阀芯和阀体间相对位置的不同,来变换阀体上各主油口的通断关系,实现各油路连通切断或改变液流方向的阀类。换向阀是液压系统中用量最大、品种和名称最复杂的一类阀。根据换向阀的作用,对换向阀性能的基本要求有:液流通过换向阀时压力损失要小;液流在各关闭油口之间的缝隙泄漏量小;换向可靠,动作灵敏;换向平稳无冲击。
换向阀的分类及结构介绍换向阀可以按不同的方法进行分类。
1.按结构特点分类
按照结构特点,换向阀可分为滑阀型、锥阀型和转阀型。
(1)滑阀型滑阀型换向阀的阀芯为圆柱滑阀,相对于阀体作轴向运动。由于滑阀的液压轴向力和径向力容易实现平衡,因此操纵力较小。此外,滑阀型容易实现多种机能,因而在换向阀中应用最广。
(2)锥阀型锥阀型通过锥阀芯相对于阀座的开启或闭合来实现换向。它的密封性好,动作灵敏,但单个锥阀只能实现二位二通机能。如果要得到较复杂的机能,必须采用多个阀进行组合。此外,因锥阀的液压轴向力不能平衡,因此需要较大的操纵力
(3)转阀型因阀芯相对于阀体转动而得名。由于作用在阀芯上的液压径向力不易平衡,加之密封性较差,因此只适用于低压小流量的场合。
2.按换向阀的“位”和“通”分类
按照换向阀的工作位置和控制的通道数,换向阀可分为二位二通、二位三通、二位四通、三位四通三位五通等。
