布氏硬度的优缺点和应用范围
什么是硬度?
硬度是指一种材料的属性,可使其抵抗局部变形,特别是塑性变形。但是,术语硬度也可以指抗弯曲,耐刮擦,耐磨损或耐切割性。
硬度测量:
硬度不是质量,长度和时间的基本单位所定义的固有材料特性。硬度属性值是定义的测量过程的结果。长期以来,材料的硬度可以通过耐划伤或切割来评估。一个示例是材料B刮伤材料C,但不刮伤材料A。或者,材料A轻微刮伤材料B,严重刮伤材料C。矿物的相对硬度可以参考莫氏等级进行评估,该等级对材料抵抗另一种材料刮伤的能力进行了排名。今天,仍然普遍使用类似的相对硬度评估方法。一个例子是锉刀测试,其中将回火到所需硬度的锉刀摩擦在测试材料表面上。如果锉刀滑动时没有咬伤或划伤表面,则认为测试材料比锉刀硬。如果锉刀咬伤或标记表面,则认为测试材料比锉刀软。上述相对硬度测试在实际使用中受到限制,并且不提供准确的数值数据或刻度,特别是对于现代金属和材料。获得硬度值的常用方法是在特定时间内施加特定力,以测量特定形状的压头留下的压痕的深度或面积。有三种主要的标准测试方法来表达硬度和压痕尺寸之间的关系,分别是布氏,维氏和洛氏硬度。
布氏硬度

布氏硬度测定
测试用压头:HBS和HBW的区别是压头的不同。HBS表示压头为淬硬钢球,用于测定布氏硬度值在450以下的材料,如软钢、灰铸铁和有色金属等。HBW表示压头为硬质合金,用于测定布氏硬度值在650以下的材料。
常用洛氏硬度试验规范表

适用范围:适用于硬度较低的金属材料,如退火、正火、调质钢、铸铁及有色金属的硬度。
优点:测量误差小,数据稳定;
缺点:压痕大,不能用于太薄件或成品件。
洛氏硬度

洛氏硬度测量
洛氏硬度(符号HR)或洛氏表面硬度的测量之前,需先使用金刚石压头(尖端锥角:120˚,尖端半径:0.2mm)或球形压头(钢球或硬质合金球)向标准片施加预加载力,然后施加试验力,并恢复预加载力。
该硬度值由硬度公式得出,该公式以预加载力和试验力之间的压痕深度h(μm)之差表示。洛氏硬度测试使用98.07N的预加载力,洛氏表面硬度测试则使用29.42N的预加载力。结合压头类型、试验力和硬度公式一起提供的特定符号被称为标尺。
洛氏硬度的分类及适用范围:根据压头的材料及压头所加的负荷不同,洛氏硬度可分为:HRA、HRB、HRC。HRA 适用于测量硬质合金、表面淬火层或渗碳层;HRB 适用于测量有色金属和退火、正火钢等;HRC 适用于调质钢、淬火钢等。
适用范围:工业生产中最常用,适用于硬度较高的金属材料,如淬火钢及调质钢;
洛氏硬度的优点:操作简单、压痕小、适用范围广;
洛氏硬度的缺点:测量结果分散度大。
维氏硬度

维氏硬度测量
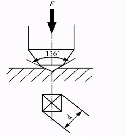
测试用压头:金刚石四方角锥体,所加负荷较小;
维氏硬度是将试验力F(N)除以标准片与压头之间的接触面积S(mm2)所得的值,该面积根据在试验力F(N)下通过压头(四方锥金刚石,相对面角=136˚)在标准片上形成的压痕的对角线长度d(mm,两个方向长度的平均值)计算。k为常数(1/g=1/9.80665)。
维氏硬度测量范围大,可测量硬度为10~1000HV范围的材料,压痕小,一般用来测量较薄的材料和渗碳、渗氮等表面硬化层。
适用范围:由于试验时加载的压力小,压入深度浅,对工件损伤小。特别适用于测量零件的表面
维氏硬度的优点:保留了布氏硬度和洛氏硬度的优点,既可测量由极软到极硬的材料的硬度,又能相互比较。
三种硬度各有优点但是也各有缺点,要求精度高的需要使用维氏硬度计来进行测量了,但是维氏硬度的试验操作较麻烦,一般在生产上很少使用,多用于实验室及科研方面。
硬度的选择
