同步带轮的挡圈尺寸【一览表】
同步带轮的挡圈尺寸【一览表】
同步带轮的挡圈尺寸
| 周节制 | 槽型 | MXL | XXL | XL | L | H | XH | XXH | ||||||||||||||||||
挡圈最小高度K | 0.5 | 0.8 | 1.0 | 1.5 | 2.0 | 4.8 | 6.1 | ||||||||||||||||||||
挡圈厚度h | 0.5~1.0 | 0.5~1.5 | 0.5~1.5 | 1.0~2.0 | 1.5~2.5 | 4.0~5.0 | 5.0~6.5 | ||||||||||||||||||||
带轮外径d0 | 见各型号附表 | ||||||||||||||||||||||||||
挡圈弯曲处直径dw | dw=do+(0.38±0.25) | ||||||||||||||||||||||||||
挡圈外径df | df=dw+2K | ||||||||||||||||||||||||||
模数制 | 模数 | 1 | 1.5 | 2 | 2.5 | 3 | 4 | 5 | 7 | 10 | |||||||||||||||||
Kmin | 0.5 | 1 | 1.5 | 2 | 3 | 5 | 6 | ||||||||||||||||||||
h | 0.5~1 | 1.0~1.5 | 1.0~2.0 | 1.5~2.5 | 2.5~4 | 4~5 | 5~6.5 | ||||||||||||||||||||
特殊节距 | 槽型 | T2.5 | T5 | T10 | T20 | ||||||||||||||||||||||
挡圈最小高度K | 0.8 | 1.2 | 2.2 | 3.2 | |||||||||||||||||||||||
挡圈弯曲处直径dw | dw=do+(0.38±0.25) | ||||||||||||||||||||||||||
挡圈外径df | df=dw+2K | ||||||||||||||||||||||||||
圆弧齿 | 槽型 | 3M | 5M | 8M | 14M | 20M | |||||||||||||||||||||
挡圈最小高度K | 2.0~2.5 | 2.5~3.5 | 4.0~5.5 | 7.~7.5 | 8.0~8.5 | ||||||||||||||||||||||
R=(dw~do)/2 | 1 | 1.5 | 2 | 2.5 | 3 | ||||||||||||||||||||||
挡圈厚度h | 1.5~2.0 | 1.5~2.5 | 2.5~3. | 3.0~3.5 | |||||||||||||||||||||||
带轮外径do | 各型号附表 | ||||||||||||||||||||||||||
挡圈弯曲处直径dw | dw=do+2R | ||||||||||||||||||||||||||
挡圈外径df | df=dw+2K | ||||||||||||||||||||||||||
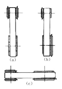
挡圈的设置
两轴传动 | (1) 一般推荐小带轮两侧均设挡圈,大带轮两侧不设,如图a (2) 也可在大小带轮的不同侧面各装单侧挡圈,如图b |
| |
(3)当轴间距a>8df | 大小轮两侧均设挡圈 | ||
(4)带轮轴线垂直水平面时 | 大小轮两侧均设挡圈,或至少主动轮两侧与从动轮下侧设挡圈如图c | ||
多轴传动 | (1) 每隔一个轮两侧设挡圈,被隔的不设 (2) 或每个轮的不同侧设挡圈 | ||
服务机械行业22年 - 专业权威积淀,品牌优势传承

