直线轴承安装方式【教程】
直线轴承安装方式【教程】
将直线轴承安装到轴承座,应采用装配辅具以避免安装时对外套或密封圈的直接撞击。
直线轴安装

在将轴插入直线轴承时必须小心地调整轴和轴承的位置。如果轴插入时有倾斜,则滚珠会因保持架的变形或破坏而发生偏移。
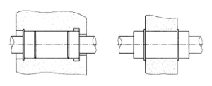
标准安装

定位环安装 压板固定
可使用定位环或压板固定直线轴承。
调整螺钉安装

使用调整螺钉固定直线轴承的方法会引起外圈的变形,应当避免。
法兰型安装

安装LMF,LMK,LMH型直线轴承时只需要用螺钉紧固法兰即可。
注:以外套配合装配时需要考虑形位公差
可调型(AJ)直线轴承安装

采用可调型轴承座可以调整可调型轴承与光轴之间的间隙。在这种情况下,直线轴承开槽的位置应与轴承座开槽的位置成90度角,以平衡径向变形。
开口型安装

开口型轴承也可采用可调型轴承座来安装。通常可施加较轻的预紧力。
轴支座安装

轴支座(SK)通过螺钉固定在工作台上,用紧定螺钉固定光轴。
箱式直线轴承单元安装

SC,SCW,SCV型箱式单元可用螺钉从顶端和底端安装,可在最短时间内完成安装。
服务机械行业22年 - 专业权威积淀,品牌优势传承