行星减速器传动比计算公式【老师附干货】
在工程机械领域中,履带式挖掘机的行走主要是靠行走马达(轴向柱塞马达)实现的,与一般的减速器输出有所区别,输出转速和扭矩的部位是减速器的壳体(内齿圈)。行走马达主要由液压马达和减速器两部分组成。以6 t~8 t的小型挖掘机为例,在满足挖机结构可靠性的同时也要节省整机的空间,因此行走马达的体积在设计时也要尽量小,由于轴向柱塞马达输出的转速高,转速和扭矩在一定条件下成反比,为了使马达能够高效运转,只能通过增加减速器部分将高速的马达转速降低以实现扭矩的增大。为了达到既控制整机空间又降低液压元件成本的目的,使得带行星减速器的液压马达在工程机械行业应用非常广泛。
1 行星减速器的工作原理
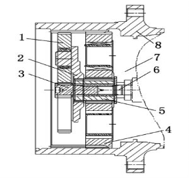
行走马达行星减速器主要由行星轮、太阳轮、行星架、壳体(内齿圈)组成,如图1所示。减速比的大小由几级减速比的乘积决定,级数越多,减速比越大,输出的速度越小,扭矩越大。
根据不同的减速要求,可采用一级减速器或二级减速器,通过二级减速可以使速度变得更低。减速器的作用是将输入进来的高转速通过齿轮间传动后将速度降低再输出的过程。行走马达的减速器是由二级减速实现的,一级减速由一级行星轮、一级太阳轮和一级行星架组成,二级减速由二级行星轮、二级太阳轮和马达体(行星架)组成,马达体可以看做是一个固定不动的机构。
如图1所示,液压马达工作输出的转速经传动轴6带动一级太阳轮3(齿数10)转动,一级太阳轮又带动一级行星轮1(齿数43)转动,一级行星轮1自转的同时又在壳体(齿数98)内做圆周运动,带动一级行星架2旋转,一级行星架的旋转带动二级太阳轮5(齿数18)旋转,二级太阳轮又带动二级行星轮4(齿数39)旋转,由于马达体7是静止的,因此二级行星轮将动力传给了最外面的壳体,由一级行星轮和二级行星轮的旋转速度通过差补最终实现壳体的匀速转动。当输入的转速不同时,通过传动比即可得到相应的输出转速。行星减速器工作原理简图如图2所示。

1-一级行星轮;2-一级行星架;3-一级太阳轮;4-二级行星轮;5-二级太阳轮;6-传动轴;7-马达体(行星架);8-壳体(内齿圈)
图1 行星减速器结构简图

图2 行星减速器工作原理简图
由图1可以看出,此行星减速器不同于常规的减速器,通常的减速器是壳体外圈作为固定件,输入轴和输出轴分别为主动件和从动件,而此减速器的壳体是输出轴,也就是从动件,因此在计算时需要将主动件和从动件进行转换,最终的传动比才是真实值。
该减速器机构类别为双级2K-H,啮合方式为双级NGW,传动比为:

.
(1)
其中
![]()
为当b件固定时主动件a对从动件H1的传动比;Za为一级太阳轮(视为主动件)的齿数,Za=10;Zb 、Zb1为壳体(内齿圈,视为固定件)的齿数,Zb=Zb1=98;Za1为二级太阳轮(视为主动件)的齿数,Za1=18。
将相关参数代入式(1)可得
![]()
=69.6。
将
![]()
中的主动件和从动件进行转换则:
![]()
.
(2)
由式(2)可得
![]()
=-68.6。结果为负数说明减速器输入轴的转动方向与最终输出轴转动方向相反。已知马达的转速为2 400 r/min,经减速器二级减速后转速为2 400÷68.6=35 r/min。马达的扭矩为80 N·m,经减速器二级减速后扭矩为80×68.6=5 488 N·m。由此可见输出转速降得很低,扭矩增大明显。
2 行星减速器的传动效率计算
行星减速器的传动效率主要由齿轮的啮合效率、滑动轴承的效率和油液的阻力效率决定,由于滑动轴承的效率和油液的阻力效率远小于齿轮啮合效率的数量级,因此可忽略不计,只考虑齿轮的啮合效率。
双级NGW型行星齿轮传动效率为:

.
(3)
其中:φH为减速器中各个啮合齿轮损失效率φi的总和,即:
φH=∑φi.
(4)
其中:φi=0.01fΔ,Δ为与啮合参数有关的系数,可通过参考文献[1]查得,f为齿面间动摩擦因数,取f=0.08。
将相关参数代入式(4)计算得φH=0.014 4,故
![]()
。
该马达减速器部分的效率为0.986,依然保持着很高的效率值,因此行走马达的总效率不会因增加了减速器而损失很大。
3 结语
行星减速器作为液压马达的一部分,具有重量轻、结构紧凑、传动比范围大、传动效率高、输出扭矩大等特点。此行星减速器与普通减速器的不同之处在于输出轴,行走马达的输出轴是减速器壳体(内齿圈),优点是回转半径大,兼顾了行走的速度和扭矩,增加了行星减速器的行走马达总效率依然很高,节省功耗。